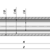
Siłownik hydrauliczny dwustronnego działania Contarini HMO to profesjonalne rozwiązanie zaprojektowane z myślą o wymagających zastosowaniach w hydraulice mobilnej. Jego solidna, spawana konstrukcja oraz wykorzystanie najwyższej jakości materiałów, takich jak stal St 52.3 na rurę i twardo chromowane tłoczysko [ØS], gwarantują wyjątkową wytrzymałość oraz odporność na korozję. Precyzyjne działanie w obu kierunkach (wysuw i powrót) zapewnia pełną kontrolę nad elementami roboczymi maszyn, co jest kluczowe w rolnictwie i budownictwie. Produkt oferowany jest w szerokim zakresie konfiguracji, pozwalając na dobór idealnych parametrów: od średnicy tłoka [ØD] po długość skoku roboczego [K mm]. Wybierz sprawdzoną włoską jakość Contarini, aby zapewnić swoim maszynom maksymalną wydajność i bezawaryjność.

| Kod | C | E(BSP) | K | L | L1 | Z | ØAL | ØD | ØS | Kg |
|---|---|---|---|---|---|---|---|---|---|---|
| HM03300200 | 23 | 3/8″ | 200 | 50 | 30 | 360 | 60 | 70 | 30 | 6,2 |








Opinie
Na razie nie ma opinii o produkcie.